文 | 凤凰网酒业实习生 陈梦玲 蒲婉莹
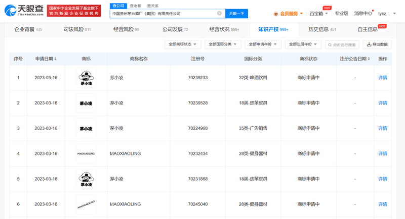
3月24日,凤凰网酒业获悉,中国贵州茅台酒厂(集团)有限责任公司于3月16日申请注册了13个“茅小凌”、“MAOXIAOLING”相关商标,申请注册的国际分类涵盖服装鞋帽、广告销售、啤酒饮料、健身器材、皮革皮具、灯具空调、方便食品等7个类别。目前商标状态均为申请中。



“茅小凌”是小茅美形象创作工作室为茅台冰淇淋特别创意的专属IP形象,于2022年5月24日推出,“冰醇之爱只为你”为其Slogan。

公开信息显示,茅台曾于2022年11月申请注册多类“i茅台”相关商标,包括广告销售、教育娱乐、啤酒饮料、纱线丝等,引发网友热议。
茅台的多元化发展之路越走越远,布局范围不断拓宽,文创方向更是在不断纵深。




